CNP серии NISO относятся к консольно-моноблочным одноступенчатым центробежным насосам горизонтального исполнения. Конструкция с осевым всасывающим и радиальным напорным патрубком предназначена для подачи воды и технологических жидкостей в инженерных и производственных системах
Проточная часть насосов серии NISO разработана с использованием гидродинамического моделирования, что позволяет поддерживать устойчивые рабочие характеристики при изменении расхода в системе. Такая гидравлика обеспечивает ровное формирование напора и стабильный режим работы оборудования в трубопроводных сетях различной конфигурации
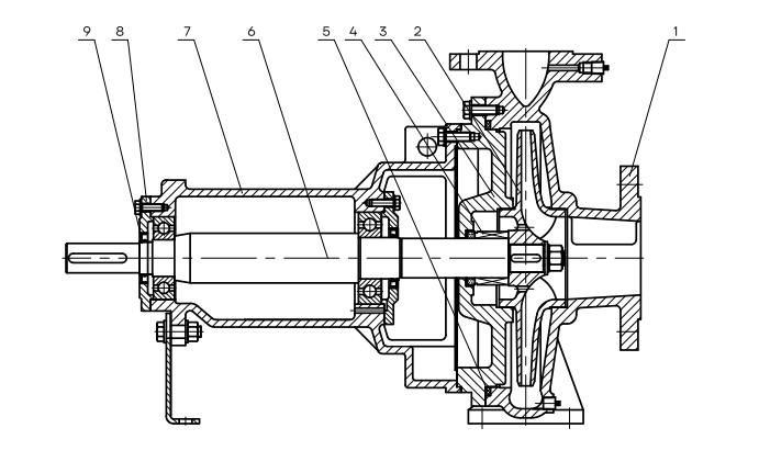
Конструкция насоса
- Корпус насоса
- Рабочее колесо
- Крышка насоса
- Торцевое уплотнение
- Кольцо уплотнительное
- Вал
- Корпус подшипникового узла
- Крышка подшипникового узла
- Манжетное уплотнение
Моноблочная компоновка обеспечивает компактность оборудования и точную соосность вращающихся элементов, что положительно влияет на ресурс подшипниковых узлов и стабильность работы насоса
Перекачиваемые жидкости
Насосы серии NISO предназначены для работы с чистыми и неагрессивными жидкостями, не содержащими абразивных частиц и длинноволокнистых включений
В качестве рабочей среды допускается использование воды систем водоснабжения, циркуляционной воды отопительных и климатических установок, а также технологических жидкостей, химически совместимых с материалами корпуса и рабочего колеса
Основные преимущества и особенности конструкции
Конструктивные решения серии NISO ориентированы на эксплуатацию оборудования в насосных станциях и трубопроводных системах различного назначения
- Консольно-моноблочная одноступенчатая конструкция
- Осевой вход и радиальный напорный патрубок
- Прецизионное литьё корпуса и рабочего колеса
- Разгрузочные отверстия для снижения осевых нагрузок
- Торцевое механическое уплотнение с парами трения графит и карбид кремния
- Возможность обслуживания узлов без демонтажа корпуса из трубопровода
- Исполнения корпуса и рабочего колеса из чугуна или нержавеющей стали
Такая компоновка облегчает обслуживание насоса и доступ к основным рабочим узлам
Область применения насосов CNP серии NISO
Системы водоснабжения
Подача воды в инженерных сетях жилых, административных и промышленных объектов
Системы отопления
Циркуляция теплоносителя в тепловых пунктах и котельных установках
Системы вентиляции и кондиционирования
Работа в водяных контурах охлаждения и климатических системах
Промышленные предприятия
Подача технической воды и эксплуатация в циркуляционных технологических контурах
Насосные станции
Использование в установках подачи и распределения воды общего назначения
Конструкция насосов серии NISO обеспечивает устойчивые рабочие характеристики и удобство эксплуатации оборудования в инженерных и технологических системах при соблюдении требований к рабочей среде и условиям всасывания
