CNP серии CDLK относятся к вертикальным многоступенчатым центробежным насосам, предназначенным для подачи охлаждающих и смазочно-охлаждающих жидкостей, а также технической воды в составе промышленного оборудования. Конструкция насосов рассчитана на установку в резервуарах станков и производственных линий, где требуется стабильная подача жидкости при ограниченном пространстве монтажа
Вертикальное исполнение с погружной гидравлической частью позволяет размещать насос непосредственно в рабочем резервуаре. Такое решение сокращает длину всасывающего участка и упрощает компоновку оборудования. Многоступенчатая схема обеспечивает формирование необходимого давления для подачи жидкости в системы охлаждения, циркуляции и фильтрации
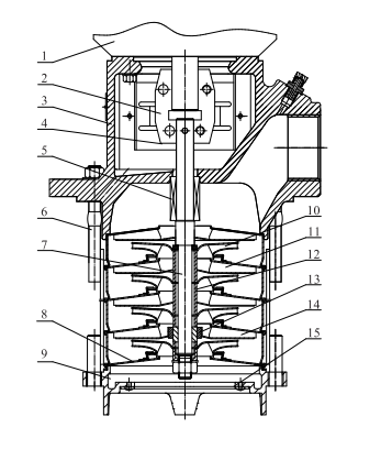
Конструкция насоса
- Электродвигатель
- Муфта
- Кожух муфты
- Торцевое уплотнение
- Стяжки
- Вал
- Секция
- Всасывающая головка
- Рабочее колесо
- Диффузор
- Втулка рабочего колеса
- Подшипник
- Диффузор вспомогательный
- Сетчатый фильтр
- Головная часть насоса
Такая компоновка позволяет интегрировать насос непосредственно в резервуар станочного оборудования и обеспечивает устойчивую работу системы подачи жидкости
Перекачиваемые жидкости
<Насосы серии CDLK предназначены для перекачивания технической воды и смазочно-охлаждающих жидкостей без крупных абразивных включений. Перекачиваемая жидкость должна быть совместима с материалами проточной части насоса
Жидкость не должна содержать длинноволокнистых включений и крупных механических примесей, способных нарушить работу гидравлических ступеней
Основные преимущества и особенности конструкции
- Вертикальная многоступенчатая компоновка
- Погружная гидравлическая часть
- Установка на крышке резервуара
- Последовательное расположение рабочих колёс
- Компактная интеграция в станочное оборудование
- Торцевое механическое уплотнение вала
Такая конструкция позволяет использовать насосы в системах подачи охлаждающих жидкостей и циркуляционных контурах промышленного оборудования
Область применения насосов CNP серии CDLK
Металлообрабатывающие станки
Подача смазочно-охлаждающих жидкостей в рабочие зоны станков
Системы охлаждения оборудования
Циркуляция охлаждающих жидкостей в производственных установках
Промышленные системы циркуляции
Перемещение технической воды в замкнутых технологических контурах
Производственные линии
Работа в оборудовании с встроенными резервуарами для рабочей жидкости
Насосы серии CDLK применяются в промышленном оборудовании и технологических установках, где требуется стабильная подача охлаждающих и технических жидкостей в составе циркуляционных систем
