CNP серии VTM относятся к вертикальным насосам турбинного типа, предназначенным для подачи воды при невысоком и среднем напоре в системах водообеспечения, циркуляции и охлаждения
Гидравлическая часть располагается в воде и включает рабочее колесо с направляющим устройством, формирующие поток вдоль оси колонны. Вращение передаётся от электродвигателя через удлинённый вал с промежуточными опорными втулками, что позволяет сохранять стабильность работы при значительной длине насоса
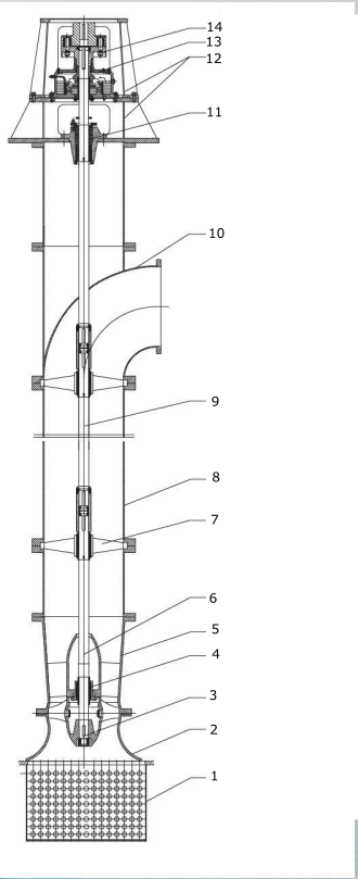
Конструкция насоса
- Фильтр
- Раструб всасывающего патрубка
- Шпонка
- Подшипник скольжения
- Блок диффузора
- Вал электронасоса
- Опора подшипника и подшипник трансмиссионного вала
- Колонна фланцевая
- Вал трансмиссионный и муфты
- Патрубок напорный и фланец переходной двигателя
- Уплотнение сальниковое
- Опора двигателя и основание
- Подшипник упорный
- Муфта электронасоса и двигателя
Наличие промежуточных опорных втулок обеспечивает точную центровку вала и устойчивую работу проточной части
Перекачиваемые жидкости
Насосы серии VTM предназначены для работы с водой различного происхождения при соблюдении допустимых условий эксплуатации
Допускается перекачивание морской, речной, дождевой и неочищенной воды, а также технической и охлаждающей воды при соответствии материалов насоса характеристикам среды
Основные преимущества и особенности конструкции
Конструкция насосов серии VTM рассчитана на эксплуатацию в системах с непрерывным потоком и длительным режимом работы
- Вертикальное турбинное исполнение с нижним расположением гидравлической части
- Рабочее колесо осевого или смешанного типа
- Удлинённый вал с промежуточными опорными втулками
- Раздельное размещение гидравлической и приводной части
- Установка электродвигателя над уровнем жидкости
Такая компоновка снижает динамические нагрузки и увеличивает ресурс элементов конструкции
Область применения насосов CNP серии VTM
Орошение и дренаж
Подача и отвод воды в мелиоративных и ирригационных системах
Системы охлаждения
Обеспечение работы охлаждающих контуров промышленного оборудования
Технологические процессы
Использование в производственных процессах с непрерывной подачей воды
Циркуляционные контуры
Работа в замкнутых системах перемещения технологических жидкостей
Системы кондиционирования
Циркуляция воды в климатических установках и инженерных сетях зданий
Городское водоснабжение
Подача воды в распределительные сети централизованных систем
Серия VTM применяется в инженерных и технологических системах, где требуется подача воды из открытых источников при непрерывной эксплуатации оборудования