CNP серии VTA относятся к вертикальным насосам осевого типа, применяемым в системах с высокими расходами жидкости при низком и среднем напоре
Гидравлическая часть располагается ниже уровня жидкости и формирует поток вдоль оси колонны. Рабочее колесо осевого типа обеспечивает значительную подачу при ограниченной высоте подъёма, а вращение передаётся через вертикальный вал, стабилизируемый направляющими втулками по всей длине
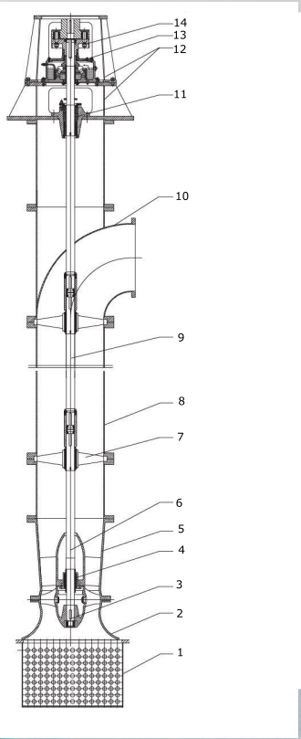
Конструкция насоса
- Фильтр
- Раструб всасывающего патрубка
- Шпонка
- Подшипник скольжения
- Блок диффузора
- Вал электронасоса
- Опора подшипника и подшипник трансмиссионного вала
- Колонна фланцевая
- Вал трансмиссионный и муфты
- Патрубок напорный и фланец переходной двигателя
- Уплотнение сальниковое
- Опора двигателя и основание
- Подшипник упорный
- Муфта электронасоса и двигателя
Осевой характер гидравлики определяет равномерное распределение скорости потока и устойчивость параметров подачи
Перекачиваемые жидкости
Серия ориентирована на эксплуатацию в открытых гидротехнических системах и сооружениях с переменным уровнем воды
Рабочая среда включает сточные, морские, речные и неочищенные воды при отсутствии крупных абразивных включений, способных вызвать ускоренный износ элементов проточной части
Основные преимущества и особенности конструкции
Конфигурация насосов серии VTA ориентирована на эксплуатацию в системах с осевым направлением движения жидкости и повышенной производительностью
- Вертикальное исполнение с осевой гидравлической схемой
- Рабочее колесо осевого типа
- Передача вращения через вертикальный вал с направляющими втулками
- Размещение электродвигателя на верхней монтажной плите
- Сухая установка привода вне рабочей среды
Компоновка обеспечивает упорядоченное движение жидкости в проточной части и согласованную работу элементов конструкции
Область применения насосов CNP серии VTA
Системы циркуляции и охлаждения
Перемещение охлаждающей и технологической воды в промышленных контурах
Ирригация и дренаж
Подача воды и удаление избыточной влаги на сельскохозяйственных и инфраструктурных объектах
Гидротехнические сооружения
Эксплуатация на каналах, водохранилищах и распределительных узлах
Судостроительные и портовые объекты
Осушение сухих доков и работа с морской водой
Системы защиты от наводнений
Откачка воды при подтоплениях и аварийных ситуациях
Осушение и водоотведение
Удаление сточных и поверхностных вод в коммунальных и промышленных системах
Серия VTA используется в установках, где требуется перемещение значительных объёмов жидкости при ограниченном напоре и работе в открытых каналах, резервуарах и водоприёмных сооружениях