CNP серии LLT(S) относятся к вертикальным одноступенчатым центробежным насосам ин-лайн исполнения, предназначенным для работы в трубопроводных контурах водоснабжения и циркуляции. Соосное расположение всасывающего и напорного патрубков позволяет устанавливать насос непосредственно в линию трубопровода без изменения его конфигурации
Ин-лайн компоновка обеспечивает равномерное распределение нагрузки на трубопровод и позволяет использовать насос в компактных инженерных узлах. Одноступенчатая гидравлическая схема рассчитана на работу в циркуляционных контурах с умеренными значениями расхода и напора
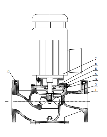
Конструкция насоса
- Корпус насоса
- Рабочее колесо
- Кольцо уплотнительное
- Винт для удаления воздуха M10×1
- Фонарь
- Торцевое уплотнение
- Электродвигатель
- Заглушка R 1/4
Такая компоновка обеспечивает устойчивую работу насоса при эксплуатации в циркуляционных трубопроводных контурах
Перекачиваемые жидкости
Насосы серии LLT(S) предназначены для перекачивания чистых и маловязких жидкостей без твердых абразивных и волокнистых включений
Рабочей средой является вода систем водоснабжения и отопления, а также технологические жидкости с характеристиками, соответствующими условиям эксплуатации насоса
Основные преимущества и особенности конструкции
Конструкция насосов серии LLT(S) сформирована с учётом особенностей ин-лайн установки и эксплуатации в трубопроводных линиях
- Вертикальная одноступенчатая конструкция
- Ин-лайн компоновка с соосными патрубками
- Установка непосредственно в трубопровод
- Рабочее колесо из нержавеющей стали
- Компактное размещение в инженерных узлах
- Возможность корректировки характеристики подрезкой рабочего колеса
Такая конструкция обеспечивает стабильную циркуляцию жидкости при эксплуатации в инженерных контурах зданий и технологических установок
Область применения насосов CNP серии LLT(S)
Системы циркуляции зданий
Поддержание движения воды в трубопроводных контурах отопления и водоснабжения
Локальные насосные узлы
Использование в инженерных узлах с ограниченным пространством установки
Технологические установки
Подача жидкости в вспомогательных контурах промышленного оборудования
Модернизация трубопроводных систем
Замена или установка ин-лайн насосов в существующих инженерных сетях
Серия LLT(S) применяется в циркуляционных и водоснабжающих контурах, где требуется компактное размещение насоса и поддержание стабильных гидравлических параметров потока