CNP серии CDLKF относятся к вертикальным многоступенчатым центробежным насосам, предназначенным для подачи охлаждающих, фильтрованных и технологических жидкостей в составе промышленного оборудования. Конструкция насосов рассчитана на установку на резервуарах станков и производственных линий, где требуется стабильная подача жидкости при ограниченном монтажном пространстве
Вертикальная компоновка с погружной гидравлической частью позволяет размещать насос непосредственно в баке с рабочей жидкостью. Проточная часть выполнена из нержавеющей стали, что повышает устойчивость оборудования к воздействию технологических сред и обеспечивает стабильную работу при контакте с жидкостями различного химического состава
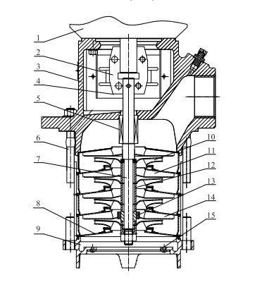
Конструкция насоса
- Электродвигатель
- Муфта
- Кожух муфты
- Торцевое уплотнение
- Стяжки
- Вал
- Секция
- Всасывающая головка
- Рабочее колесо
- Диффузор
- Втулка рабочего колеса
- Подшипник
- Диффузор вспомогательный
- Сетчатый фильтр
- Головная часть насоса
Такая конструкция обеспечивает стабильную подачу жидкости в системах циркуляции и охлаждения промышленного оборудования
Перекачиваемые жидкости
Насосы серии CDLKF предназначены для перекачивания технической воды, смазочно-охлаждающих и других технологических жидкостей без крупных абразивных включений. Рабочая среда не должна вызывать химического воздействия на элементы гидравлической части насоса
Жидкость не должна содержать крупных механических примесей и длинноволокнистых включений, способных повлиять на работу гидравлических ступеней
Основные преимущества и особенности конструкции
Конструктивные решения серии CDLKF ориентированы на эксплуатацию насосов в составе промышленного и станочного оборудования
- Вертикальная многоступенчатая компоновка
- Проточная часть из нержавеющей стали
- Погружная гидравлическая часть
- Исполнение для установки на крышке резервуара
- Последовательное расположение рабочих колёс
- Торцевое механическое уплотнение вала
Такая компоновка обеспечивает компактное размещение насоса и удобство обслуживания оборудования при эксплуатации
Область применения насосов CNP серии CDLKF
Металлообрабатывающие станки
Подача смазочно-охлаждающих жидкостей в рабочие зоны станков
Производственные линии
Циркуляция технологических жидкостей в промышленном оборудовании
Системы охлаждения оборудования
Работа в контурах охлаждения производственных установок
Системы фильтрации
Подача жидкости в установки очистки и возврата рабочей среды в резервуар
Насосы серии CDLKF применяются в промышленном оборудовании и технологических установках, где требуется стабильная подача технологических жидкостей и устойчивое давление в системах циркуляции
